여기서는 AT-120, AT-130 을 기준으로 설명한다.
블럭도는 아래와 같다(AT-120)

컨트롤 라인은 4 가닥이 사용되는데 두개는 전원선이고 나머지 두개는 튜너의 컨트롤 라인이다.
컨트롤 라인은 리그와 협업하여 작동한다.
※ 튜너 측 작동은 아래와 같다.
START 라인은 입력이고 HIGH 로 풀업 되어 있다.
START 라인에 LOW 신호가 들어오면 튜닝을 준비하고 KEY 라인을 "LOW" 레벨로 만든다.
상기 작동에서 START 라인이 튜닝 중 지속해서 LOW 레벨로 유지될 필요는 없으며 튜너에 따라 일정시간 (50~200ms 이상) 만 LOW 레벨을 주면 된다.(즉 튜닝 개시 LOW 펄스 신호)
※ 리그 측 작동은 아래와 같다.
튜닝 스위치를 누르면(또는 자동으로) 튜너에 연결된 START 라인을 일시적으로 LOW 로 만든다.(튜닝 개시 펄스)
튜너에 연결된 KEY 라인의 전압이 LOW 가 되면 저출력으로(약 10W 내외) 연속신호를 내보낸다.
KEY 라인이 HIGH 가 되면 튜닝이 종료 된 것이다.
지정된 최대 튜닝시간 내에 KEY 라인이 HIGH 가 되지 않으면 튜닝 실패로 간주한다.
튜너의 작동은 아래서 설명한다.
※ 회로는 튜너 모델마다 다를 수 있지만 하는 일은 거의 같다. 여기서는 AT-120 기준이다.
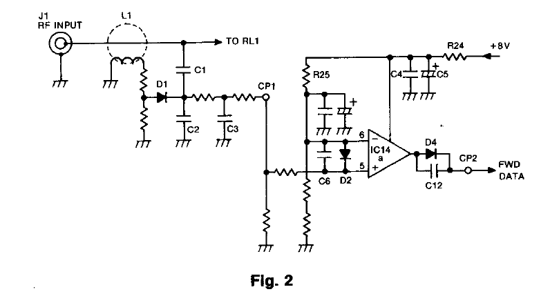
먼저 입력 전력을 측정하는 부분 이다. (FOWARD POWER DETECTOR)

이 회로는 입력 전력의 크기를 측정하고 10W 이하이면 LOW, 그 이상이면 HIGH 를 출력한다.
튜닝시 내부의 감쇠기를 사용하므로 튜닝 전력이 10W 를 초과하면 감쇠기가 파손 된다. 이 현상을 방지하기 위해 입력 전력을 측정하는 회로이다. (LOW 면 튜닝 진행)
SWR 측정 브릿지 회로
전형적인 50옴 브릿지 회로이다.(브릿지를 구성하는 저항 R15~R21 은 47 옴으로 지정 되었다)
출력이 3 개인 것을 알 수 있는데, 각각의 OP AMP 는 비교기로 작동한다.
즉, 3 단계로 SWR 을 측정하므로 SWR 의 정확한 측정은 어려울 것으로 짐작된다.
이후 모델인 AT-130 (또는 최근의 신형 튜너) 경우는 이 부분이 아나로그 값을 직접 읽도록 되어 있다.

다음은 위상 비교기 부분이며 가장 핵심적인 부분이다.
전압과 전류의 위상차를 비교하여 부하(안테나)가 유도성(인덕티브)인지 용량성(캐패시티브)인지 판단하는데 쓰인다.
IC18 은 L2, L3 로 DBM 을 형성하는 다이오드 브릿지이다. DBM(밸런스믹서)에서는 각 다이오드의 특성이 같아야 하기 때문에 매치패어를 선별하거나 이렇게 패키지로 나온 부품을 사용하는 경우가 종종 있다. 거의 대부분의 튜너가 이 방식을 이용하여 리액턴스의 방향(양수 또는 음수)을 판단한다.
일부 튜너는 기성품 DBM(주로 미니서킷 제품) 을 사용하기도 한다.
이 작동에 대해 더 궁금하다면 아래에 있는 미니서킷의 어플리케이션 노트를 참고한다.
https://www.minicircuits.com/app/AN41-001.pdf
IC18 DBM 으로부터의 출력은 L3 측이 순저항이면 기준전압(약4V) 이고, 유도성이면 기준전압 보다 낮은 전압, 용량성이면 기준전압 보다 높은 전압을 출력한다. 이 값은 비교기를 거쳐 최종적으로는 유도성이면 LOW, 용량성이면 HIGH 를 출력하도록 한다. 따라서 이 회로는 엄밀히 말해 순저항을 판단 할 수는 없다.(출력은 항상 LOW 또는 HIGH 일 것이므로)
실제로 잘 매칭이 되었는지는 SWR 로 판단 할 수 있으므로 이것은 미스매치 상황에서 어느 방향(L 또는 C)으로 값을 증가시켜야 하는지에 대한 정보를 알아내는 용도이다.

마지막으로 임피던스(Z) 검출 회로이다.
임피던스를 측정하는 방법은 전압과 전류를 측정하여 계산(Z=V / I)하는 것이 제일 정확하지만 여기서는 전압만 측정하는 것으로 보인다. (아이콤 튜너들은 모두 이 회로를 사용하는 것으로 보인다)
감쇠기가 -16dB 라고 설명되었으므로 INPUT 전력보다 OUTPUT 전력이 약 1/40 정도로 낮다. (10W 입력이라면 사실상 0.25W 로 튜닝 하는 셈) 따라서 OUTPUT 측의 임피던스 변동이 매우 크더라도 INPUT 측에서의 임피던스 변화는 감쇠기에 의해 억압된다. 결국 감쇠기의 입력 전압 과 출력 전압을 비교하여 임피던스를 추정할 때 크게 문제가 되지 않는다(회로 설명에 의함).
부하 임피던스가 높아지면 전압이 상승할 것이므로, INPUT 과 OUTPUT(작은 신호이므로 증폭필요)를 비교하여 OUTPUT 측의 임피던스가 50옴(INPUT 측) 보다 커지는지 작아지는지 판단 할 수 있다.

최종적으로는 상기 정보들을 취합하여 MCU 의 튜닝 알고리즘이 적합한 임피던스 매칭 값을 찾는다.
알고리즘에 대한 설명은 각 메이커에서 제공하지 않으므로 상세 내용을 알 수는 없다.
수신 상태에서는 MCU 의 작동으로 인한 노이즈(클럭에서의 고조파)가 발생 할 수 있으므로, 송신 상태가 아닌 경우에 MCU 는 작동을 중지하고 대기(SLEEP) 상태에 들어간다.
분명한 것은 오토튜너의 작동 방식이 수동 튜너 다루듯이 "SWR 에 의존하여 최소 값을 찾아간다" 처럼 간단하지는 않다는 것이다. (일부 초저렴, 초간단 회로는 SWR 값 만으로 작동 할 수도 있다)
신형 튜너들은 현재 사용중인 안테나에 대한 튜닝 값을 미리 메모리에 저장해 두고 빠른 튜닝(사실상 이전 설정값으로 전환)을 제공하기도 한다.
※ 튜너에 사용하는 안테나 길이에 대한 정보는(1/2 파장 회피) 이전에 올린 글을 참고한다.
※ 오토 튜너 사용시에는 반드시 양호한 접지 또는 레디얼을 제공하고 급전선 방사(CMC) 대책(초크의 사용등)을 세워야 한다. 그렇지 않으면 콘트롤 케이블로의 RF 유입 등으로 제어 MCU 가 오작동 하는 원인이 된다.